Ladies and gentlemen, we have another new major roller coaster to open in 2020 and it looks like a great one! Joining the Class of New For 2020 coasters Texas Stingray, Candymonium, and Orion is F.L.Y. – Flying Launch Coaster – at Phantasialand in Brühl, Germany. After at least three years of anticipation, the world’s longest, and first launched, flying coaster soft opened to the public on September 17th, 2020.

No stats are available but the parks claims F.L.Y. is the world’s longest flying roller coaster which would make it longer than Flying Dinosaur at Universal Studios Japan, or more than 3,687 feet long. There are two launches and two inversions included in the tangled mess of track. Try to unscramble the layout of F.L.Y. in the aerial image below:

New Flying Coaster Technology
F.L.Y. is the first Vekoma Next Generation Flying coaster to open. Phantasialand last teamed up with Vekoma in 2016 on Raik, a steel family boomerang coaster. Now they’ve developed an all new loading concept for flying coasters.
Previous flying coasters by Vekoma and B&M had riders board the vehicles by sitting down with the track either above them or below them. Then the seats would fold up or down and riders would be left hanging uncomfortably on their stomachs or backs until they made it to the top of the lift hill.
https://ift.tt/3muSKvs
Vekoma has been trying to solve this comfort problem for a number of years. In 2012, they filed a patent with Disney for a vertical loading position where the train would then be launched straight up. This concept would eliminate the need for any additional mechanics required to rotate or fold the seats. Of course, the downside is the station would require multiple levels and multiple staff, so it’s not surprising this design has not yet been utilized.

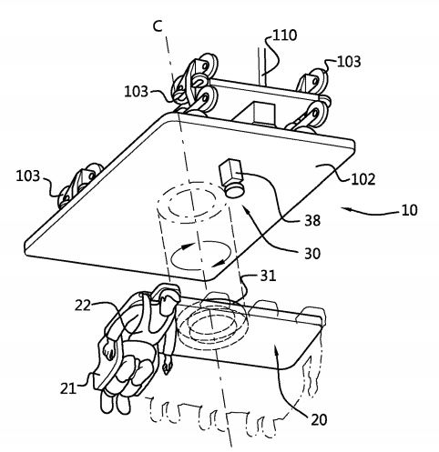
For F.L.Y. they decided to do something a little different. Vekoma filed a patent for a suspended roller coaster vehicle with rotational lockage. The seats are rotate-able, so when the track is banked sideways the seats can be turned right side up, allowing passengers to board just like any other roller coaster.
Here you can see riders in the upright position where the seats are rotated ninety degrees to the direction of travel and the track is sideways.
F.L.Y. features two trains with two across seating with ten cars per train, a departure from the four across seating of previous flying coasters. Interesting that the images in the patent still show the four across seating arrangement.

Here’s a video of the prototype rotating seats being tested:
New Rookburgh Area
Black Mamba, Chiapas, Taron: Phantasialand is known for their amazingly themed attractions and the new Rookburgh area is no exception. I think they may have even raised the bar with the incredible detail in the steampunk theming.
Putting the “steam” in steampunk
What is Rookburgh? Phantasialand describes it as: “White steam rises from the streets. A revolutionary flying machine majestically spirals into the sky. In the distance, the pounding of machines sounds: The pulse of Rookburgh awakes! Here, the Flying Launch Coaster F.L.Y., the Hotel Charles Lindbergh and the world of Rookburgh merge into a perfect unity – and you are right in the middle of it. A unique experience by day and night!”
Due to the Covid-19 pandemic only a limited number of guests at a time can visit the Rookburgh theme world.
F.L.Y. at Phantasialand Off-ride Footage
No POV has been released by the park yet and riders must pass through a metal detector so none has been taken yet. So for now we’ll have to settle for off-ride footage.
Man, there’s something so mesmerizing about watching those long trains gracefully swooping around. All the new Vekoma coasters just look so smooth, at least on video. I hope we see some come to the United States soon.
Phantasialand F.L.Y. Reviews
The general consensus of early reviews posted online indicate the ride is “fun” but not too intense.
Reddit user Voldemortred said: “Fly is literally the smoothest coaster I ever experienced. It may take away a bit of thrill for some, it doesn’t shake you around like Taron does and there are few G forces overall but as I said, it’s just really fun and they nailed the flying feel.”
Themepark.inc on Instagram didn’t seem to love the ride “Because of the extremely long train you’re constantly accelerating and de-accelerating.”
Have you been fortunate enough to ride F.L.Y.? If so, let us know what you thought in the comments below!
"soft" - Google News
September 19, 2020 at 09:23PM
https://ift.tt/32MqKLS
FLY Next Gen Vekoma Flying Coaster Soft Opens at Phantasialand - Coaster101.com
"soft" - Google News
https://ift.tt/2QZtiPM
https://ift.tt/2KTtFc8
Bagikan Berita Ini
0 Response to "FLY Next Gen Vekoma Flying Coaster Soft Opens at Phantasialand - Coaster101.com"
Post a Comment